LABTekno.com – Paten iPhone Fold baru saja diumumkan yang mengisyaratkan ponsel lipat ini secara otomatis menutup saat terjatuh.
Rumor mengenai ponsel lipat Apple memang sudah muncul sejak dulu. Perusahaan mungkin saja sudah memiliki rencana untuk membuat ponsel lipat versinya menonjol dari yang lain.
Related Post
Paten Baru iPhone Fold
Meski kemungkinan realisasi ponsel lipat Apple ini masih jauh, beberapa sumber terbaru memberikan informasi mengenai paten baru iPhone Fold.
iPhone Fold Bisa Menutup Otomatis Saat Terjatuh
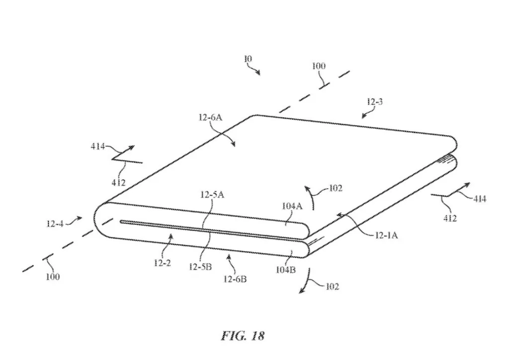
Salah satu patennya, layar iPhone Fold nanti bisa ditarik sendiri yang secara otomatis menutup jika terjatuh. Secara teori, hal ini bertujuan untuk mencegahnya dari kerusakan.
Berdasarkan informasi dari Insider menemukan paten baru iPhone Fold, yang tertanggal 16 Maret. Dalam artikel tersebut dijelaskan bahwa penelitian tersebut berjudul “Self-retracting display device and technique for protect screen using drop detection”.
Paten baru iPhone Fold ini menjelaskan penggunaan detektor jatuh, atau akselerometer, untuk menentukan apakah perangkat telah terjatuh.
Jika sudah, perangkat yang dapat dilipat dapat dilipat atau ditarik kembali untuk mencegah tampilan yang rapuh mengenai tanah.
Paten baru iPhone Fold ini sangat berguna agar mengantisipasi layar ponsel lipat Apple nantinya tidak rusak terkena tanah.

Paten mencatat bahwa jika ponsel tidak menutup sepenuhnya sebelum membentur lantai. Bahkan melipat layar ke sudut kurang dari 180 derajat dapat memberikan perlindungan. Sebab perangkat yang terjatuh lebih cenderung menyentuh tanah pada bagian tepinya daripada bagian tepinya, layar yang mudah pecah.
Ponsel lipat tentu jauh lebih tahan lama daripada iterasi awalnya, terutama Galaxy Fold asli, yang berpotensi rusak jika Anda melihatnya dengan cara yang salah.
Namun menjatuhkan perangkat foldable apapun saat terbuka, jelas akan menghancurkannya.
Jika Apple benar-benar menerapkan paten ini ke perangkat lipat pertamanya, itu mungkin membuat fitur yang menarik – dengan asumsi itu berfungsi dengan baik dan tidak menimbulkan masalah dengan penggunaan sehari-hari.
Dilapisi Membran Fleksibel Berisi Sensor Sentuh
Paten baru iPhone Fold di atas, bukan satu-satunya paten yang ditemukan.
Paten Apple yang terungkap bulan lalu mengusulkan perangkat lipat yang dilapisi dengan membran fleksibel yang berisi sensor sentuh di seluruh telepon.
Hal ini memungkinkan seseorang untuk berinteraksi di mana saja di seluruh handset tanpa harus membukanya.
Ilustrasi pertama yang diberikan desainer Cupertino dengan aplikasi paten tampaknya adalah iPhone Fold.
Paten baru iPhone Fold tersebut menyarankan pelapisan membran fleksibel yang berisi sensor sentuh di seluruh telepon.
Idenya di sini adalah bahwa pengguna masih dapat berinteraksi dengan perangkat tanpa membukanya, membuatnya lebih ramah pengguna.
“Mengumpulkan input sentuhan dari pengguna dan menampilkan gambar untuk pengguna secara efisien bisa menjadi tantangan,” jelas aplikasi tersebut. “Misalnya, saat pengguna memasukkan input sentuhan ke tampilan layar sentuh, tangan pengguna dapat memblokir gambar yang sedang ditampilkan di layar.”
Perusahaan juga percaya bahwa sensor sentuh solid-state lebih serbaguna daripada saklar fisik.
Memang, panel kontrol pada sasis ponsel dapat berubah atau beradaptasi dengan keadaan perangkat.
Misalnya, saat dilipat, layar belakang dan panel kontrol dapat menyediakan sarana untuk menjawab panggilan di speaker atau menutupnya.
Saat dalam keadaan terbuka, kontrol ini dapat dinonaktifkan untuk mencegah aktivasi yang tidak disengaja atau dipindahkan ke samping perangkat.

Melangkah lebih jauh, sambil mendengarkan streaming musik dengan ponsel dilipat, panel kontrol dapat memberi pengguna akses ke volume, perpindahan trek, dan penelusuran gulir.
Kontrol kemudian dapat secara dinamis beralih ke UI ponsel saat menerima panggilan.
Ide keseluruhan di balik paten ini sangat bagus, terutama untuk perangkat lipat, tetapi Apple tidak ingin membatasi visinya.
Disebutkan juga bahwa konsep ini bisa diterapkan ke perangkat standar selain Fold.
Paten menjelaskan penggunaan lapisan sensor sentuhan untuk menyediakan layar melingkar pada iPhone standar.

Konsep multifungsi yang ditawarkan oleh Cupertino dengan sensor di setiap permukaan, akan memungkinkan banyak cara bagi developer untuk mengimplementasikannya ke dalam UI aplikasi mereka, apa pun jenis aplikasinya.
Namun kerugian utama dari hal ini, apakah dapat dilipat atau tidak, adalah membuatnya lebih rentan terhadap kerusakan. Casing dapat melindungi ponsel tetapi dengan mengorbankan fungsi sentuh.
iPhone Fold Rilis 2025
Rumor tentang iPhone Fold selalu muncul bertahun-tahun sejak 2016. Salah satu laporan terbaru dari analis DSCC Ross Young menunjukkan tanggal rilis 2025.
Apple juga dapat mengerjakan MacBook lipat 20 inci yang dapat diluncurkan sekitar tahun 2026 atau 2027.
Untuk harganya, iPhone biasa saja sudah mahal, apalagi ketika meluncurkan ponsel lipatnya, tentu menjadi lebih mahal.
Kemungkinan, jika perangkat lipat pertama dari Apple ini rilis, perusahaan bisa melabeli harganya senilai $2.500 atau setara Rp38 jutaan.
Terimakasih sudah membaca artikel seputar teknologi terbaru di LABTekno.com. Untuk mendapatkan artikel dengan cepat, silahkan ikuti kami di Google News
.












